亚马逊设想打造巨型无人机塔 加快无人机送货
2017-06-23 10:05来源:cnBeta
编辑:李超群
扫一扫
分享文章到微信

扫一扫
关注99科技网微信公众号
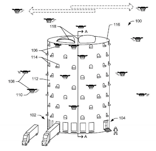
据外媒报道,最近公布的一项专利申请显示,电商巨头亚马逊为一个机器人驱动的仓储物流中心提出了新计划。专利申请中展示了一个巨型无人机塔,可以让无人机在城市周围运送包裹时方便地进出。亚马逊的这项专利申请称为“多层次运营中心”(multi-level fulfillment center)。

亚马逊在专利申请中表示:“在城市中,如市中心和人口密集的地区对在城市内设立运营中心的需求和愿望不断增长。”。美国专利和商标局在周四公布了这项专利申请,另外还包括该公司其他几个与无人机有关的专利申请。
美国《水星新闻报》(The Mercury News)网站早些时候发现的其他专利申请还涵盖了无人机性能和噪声控制等。亚马逊没有立即回应置评请求。
今年3月,亚马逊首次公开展出了Prime Air无人机。
声明:本文仅为传递更多网络信息,不代表99科技网观点和意见,仅供参考了解,更不能作为投资使用依据。
投稿邮箱:jiujiukejiwang@163.com 详情访问99科技网:http://www.fun99.cn
相关推荐
亚马逊云科技re:Invent 2025发布Nova 2系列,多款中国
在亚马逊云科技举办的re:Invent 2025全球大会上,首席执行官Matt Garman宣布推出四
快资讯2025-12-04
推荐资讯


















