苏宁全部股权质押给阿里旗下公司 回应:正常商业合作
扫一扫
分享文章到微信

扫一扫
关注99科技网微信公众号
原标题:苏宁全部股权质押给阿里旗下公司 回应:正常商业合作
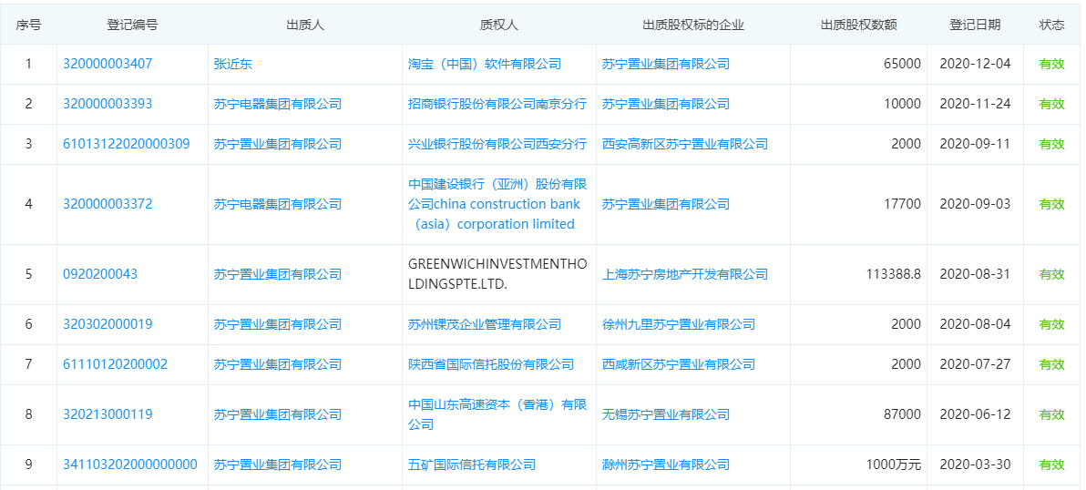
12月10日消息,苏宁创始人张近东及张康阳等人将苏宁控股全部股权质押给阿里巴巴旗下淘宝(中国)软件有限公司。
12月10日晚,苏宁易购回应称,目前苏宁控股集团持有苏宁易购3.98%的股权,股权质押是正常的商业合作,对苏宁易购战略发展和正常经营无实质影响。
企查查数据显示,12月4日,张康阳与张近东将累计10万股股权质押给淘宝(中国)软件有限公司,相当于苏宁控股全部的股份,张近东名下持有的苏宁置业6.5万股股权也被质押给淘宝。

早在12月8日,有消息传苏宁资金链断裂,巨额债券难以偿还,或将出售电商业务缓解债务危机。对此传闻,苏宁通过微博进行辟谣,称传闻内容均为不实消息,公司已向有关部门报案,并追究造谣者及传谣者的法律责任。
今年以来,苏宁置业已经多次出质股权。8月底,苏宁置地曾一次性将超过11万股股权出质给一家境外公司。
目前,苏宁旗下庞大的商业帝国涉及电商零售、房地产、物流、金融和体育文娱等业务。其中,主营电商零售的苏宁易购于2004年上市,截至12月10日,苏宁易购总市值为808亿元。
从财务数据来看,2015年开始,苏宁易购净利润开始出现负增长。2017年,公司通过减持阿里巴巴股份,实现套现32.5亿元,同年苏宁净利润达到40亿元。2018年,苏宁易购分两次减持阿里巴巴股份,累计套现108亿元。直到2019年,苏宁易购再一次陷入净利润增速下滑难题。
2014年至2019年,苏宁易购扣除非经常性损益后的净亏损累计达100亿元。今年上半年,苏宁易购扣非后净亏损达到10亿元。
除苏宁易购外,张近东父子名下还有苏宁置业、苏宁体育、苏宁金融、苏宁文创等企业。其中,除苏宁置地外,相关企业多成立于2015年至2016年,注册资本基本都在10亿元以上,当时刚好处于国内电商巨头竞争最激烈的时期。不过跨界投资并不能缓解业内竞争带来的冲击,近两年来,苏宁频繁对外发债。
7月14日,苏宁易购股价达到12.55元后便开始了持续下跌,截至12月10日,苏宁易购报收于8.68元/股,累计跌幅30.8%。为增强投资人信心,苏宁还展开了“自救“,12月9日晚,苏宁易购公告称,将使用自有资金对公司发行的18苏宁01等债券进行回购,回购资金总额为20亿元。
投稿邮箱:jiujiukejiwang@163.com 详情访问99科技网:http://www.fun99.cn
AI行业再现“闭环交易”:OpenAI以资源换Thrive H
12 月 2 日消息,OpenAI 宣布获得私募股权投资公司 Thrive Holdings 的股权,而 Thri
快资讯2025-12-02
推荐资讯




















