华为新专利:伸缩式潜望摄像头,让手机更轻薄拍照更强大
扫一扫
分享文章到微信

扫一扫
关注99科技网微信公众号
近期,科技界迎来了一项来自华为的创新突破。据知名爆料账号@xleaks7在社交媒体上的消息,美国专利商标局(USPTO)已正式批准华为的一项新专利,这项技术旨在优化智能手机的长焦镜头性能,同时保持手机的轻薄设计。
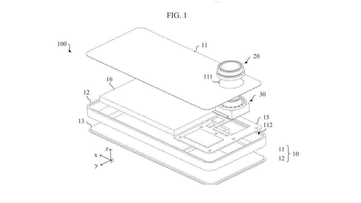
近年来,智能手机摄像头模块不断增大,凸出于机身的设计影响了手机的美观性。针对这一问题,华为的新专利提出了一种创新的解决方案,旨在减少摄像头模块的凸起程度。

具体而言,华为的新专利通过内置的驱动电机,动态调整相机组件与图像传感器之间的距离。这一机制不仅提升了长焦镜头的变焦性能,还确保了手机能够保持纤薄的设计。

传统上,要实现类似的长焦拍摄效果,智能手机通常采用“潜望式镜头”设计,但这往往需要额外的棱镜和镜面,导致手机厚度增加。相比之下,华为的新方案无需牺牲手机的轻薄设计,即可提供更高质量的长焦拍摄体验。
进一步地,当相机组件不使用时,它可以隐藏于机身内部,从而保持手机外观的简洁和美观。这一设计不仅满足了用户对手机颜值的追求,也提升了拍摄性能。


爆料账号@xleaks7还分享了华为这一新专利的演示效果图,展示了相机组件在动态调整过程中的工作状态,进一步验证了这一技术的可行性和实用性。

投稿邮箱:jiujiukejiwang@163.com 详情访问99科技网:http://www.fun99.cn
亚马逊云科技re:Invent 2025发布Nova 2系列,多款中国
在亚马逊云科技举办的re:Invent 2025全球大会上,首席执行官Matt Garman宣布推出四
快资讯2025-12-04
iPhone 17系列立大功!苹果10月全球份额24.2%:创历
12月4日消息,据市场调研机构Counterpoint Research最新报告,2025年10月,苹果在全球
快资讯2025-12-04
推荐资讯















