重磅!微软申请VR边界防护系统专利 可在VR中实时检测和渲染真实物体
扫一扫
分享文章到微信

扫一扫
关注99科技网微信公众号
原标题:重磅!微软申请VR边界防护系统专利 可在VR中实时检测和渲染真实物体
不管你使用什么VR系统,它们都具有某种边界防护系统,你可以通过设置该系统来防止自己撞到墙壁或家具。Oculus甚至指出了安装过程中的潜在障碍。但这对现实世界的变量无济于事,比如当你沉浸在VR中时,可能会有只猫走进来将你绊倒。而微软最近发布的一项新专利旨在解决这一难题。

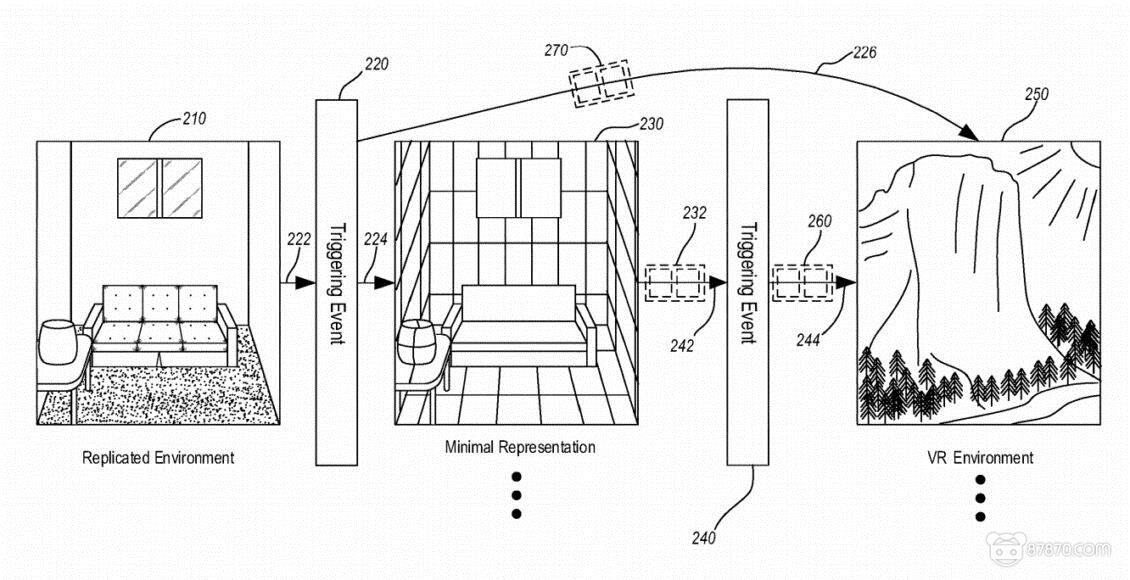
本周,美国专利商标局公布了微软的一项与VR边界防护系统相关的专利,名为“向VR环境过渡和警告VR头显用户真实障碍物”。专利指出了一种通过在VR中生成真实环境中物体的虚拟模型,来警告用户正在靠近障碍物的方案。与其他公司的专利不同,微软的这项专利是相当新的,去年4月份才提交申请。

据了解,微软的这项专利旨在解决两个问题。一是用户在戴上VR头显后从真实环境转向虚拟环境,二是前面所提到的危险问题。关于第一个问题,微软建议用户不要使用头显中的摄像头,据说这会让人迷失方向。相反,用户将看到自己环境的简化复制,通过查看熟悉的东西来帮助他们进行调整。只是数字化。然而,某种触发事件会将他们带入主要体验。虽然这可能是有用的,但不太确定有多少人会在家里使用。
此外,当你刚带上VR头显时,也会首先看到叠加在真实环境之上的模拟3D模型,然后3D模型场景逐渐消失,向VR环境过渡。微软表示:这是为了优化从真实向虚拟转化的体验感。

另一方面,现实世界中的对象跟踪要有趣得多。微软建议使用头显的传感器来追踪现实世界的物体,如果你离它们太近,则会将它们作为虚拟形式真正地带入VR,从而提醒用户前方即将撞到障碍。正如图中所现实的那样,这可能意味着静止(比如沙发)的物体会出现在视野中,甚至移动的物体,比如人或宠物。该系统可以考虑用户相对物体的速度和方向。因此,防护系统将是主动的,而不是被动的墙。
虽然这能够解决安全问题,但确实会影响沉浸感,因为突然将现实世界中的物体放在虚拟世界中会分散你的注意力——或许这也是问题所在。比如当你全神贯注地沉浸在《半衰期:爱莉克斯》中时,你可能会突然看到宠物猫或狗出现在走廊里。
投稿邮箱:jiujiukejiwang@163.com 详情访问99科技网:http://www.fun99.cn
推荐资讯























