亚马逊设想巨大的无人机塔 加速快递包裹运输
2017-06-24 10:28来源:techweb
编辑:李超群
扫一扫
分享文章到微信

扫一扫
关注99科技网微信公众号
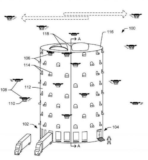
6月23日消息,据国外媒体报道,亚马逊在无人机送货方面有一些卓越的想法。这家电子商务巨头提出了“多层次运营中心”专利申请,允许无人机在城市地区投递包裹。基本上,这听起来就像是一个巨大的机器人驱动的塔,可以让无人机在城市周围运送包裹时方便地进出。

美国专利和商标局于当地时间周四公布的专利申请中,亚马逊在专利申请中说:“有一种“对于在城市内建立运营中心有不断增长的需求和愿望,例如在市区和城市人口稠密的地区。”
其他的专利申请,包括无人机的性能和噪音控制。
亚马逊没有立即回复记者的置评请求。
当然,专利并不能保证无人机塔成为现实,但亚马逊近年来一直在追求无人机的交付。
今年3月,该公司的无人机送货部门亚马逊Prime Air在美国上市。亚马逊、UPS、谷歌以及其他一些公司也在开发无人机送货技术,希望能更快、更便宜地向客户运送货物。
声明:本文仅为传递更多网络信息,不代表99科技网观点和意见,仅供参考了解,更不能作为投资使用依据。
投稿邮箱:jiujiukejiwang@163.com 详情访问99科技网:http://www.fun99.cn
相关推荐
亚马逊云科技re:Invent 2025发布Nova 2系列,多款中国
在亚马逊云科技举办的re:Invent 2025全球大会上,首席执行官Matt Garman宣布推出四
快资讯2025-12-04
推荐资讯



















